欢迎来到上海程斯智能科技有限公司官网!
上海程斯智能科技有限公司

24小时服务热线

13386202197

19821311892

联系我们

上海程斯智能科技有限公司

联系人:高先生

手机:13386202197

手机:19821311892

地址:上海市松江区洞业路999号

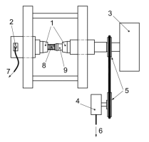
牙种植体抗扭性能测试仪

    访问量 : 2569
    编辑时间 : 2026-01-12
    相关标签 : 测试仪

    CSI-Z029A牙科扭转强力测试仪、牙科扭转测试仪、牙种植体抗扭性能测试仪

     

    一、核心测试功能

    ‌抗扭性能测试‌

    测量种植体-基台连接结构的抗扭强度,记录断裂扭矩峰值及破坏形式(如螺纹滑扣、界面分离)。

    支持循环加载测试,监测长期咀嚼载荷下的扭矩衰减率。

    ‌紧固扭矩验证‌

    对种植体施加规定值的紧固扭矩,保持5秒后观察变形/断裂,反向松开时松开扭矩需≥紧固扭矩的75%‌。

    ‌扩展应用‌

    兼容根管锉、牙科手机等器械的扭力测试,分析抗弯抗扭复合性能。

     

    二、关键技术参数

    ‌参数类别‌

    ‌指标范围‌

    控制系统‌‌

    PLC控制系统

    操作界面

    彩色7寸触摸屏显示,中、英文菜单式操作,简单方便,显示直观

    测试项目

    抗扭性能,紧固性能

    扭矩传感器

    采用高精度扭矩传感器0-5N.m,精度0.01N.M-,旋转角度0-360°检测精度高、稳定性好、抗干扰性强(仪器触摸屏显示Nm)

    抗扭测试扭力范围

    0-5N.m,精度0.01N.M-内外连接)

    旋转角度

    0-360

    电源

    220V,50Hz

    设备重量

    31.6kg

    外形尺寸

    550*400*530(mm)

    自锁夹具

    棘轮全金属自锁【0.8-10】[3/8螺纹接口]

    核心技术参数

    1.精密减速机,传动稳、噪音小

    2.核心传动机构选用进口精密导轨

    3.仪器配有水平检测装置

    4.仪器外观颜值高,美观大方、便于清洁

    5.夹具是由优质304不锈钢制作抛光镜面处理,经久耐用

    6.此测试项目为破坏性测试,若遇到打滑现象,可将样品打磨成三角口

     

     

    image.png 

     

     

    三、执行标准及应用

    符合标准

    YY 0315-2016,ISO/TS 13498 试验等标准。

    应用

    用于钛及钛合金材料制成的不带表面涂层的牙种植体抗扭性能检测。

    行业应用价值

    ‌质量控制‌:确保种植体连接界面稳定性,降低手术中基台松动或断裂风险。

    ‌研发优化‌:通过扭矩-角度曲线分析,改进种植体螺纹设计及材料硬度梯度。

    ‌合规认证‌:满足YY 0315-2023、ISO/TS 13498等标准,支撑NMPA注册检验。

     

    四、测试流程

    ‌样品制备‌

    种植体按临床规范组装基台,固定于仿骨模块(如PMMA树脂),确保无安装间隙。

    每组试样≥5个,避免单点数据偏差。

    ‌测试模式选择‌

    ‌静态破坏测试‌:以1 r/min匀速加载至断裂,记录最大扭矩及刚度。

    ‌动态疲劳测试‌:设定扭矩范围循环加载,监测5000次后的性能衰减。

    ‌结果判定‌

    失效标准:扭矩衰减>15%或出现可见变形/断裂。

    数据输出:软件自动计算均值、变异系数及失效形式分析报告。

     

    五、配置清单

    主机1台;

    测试软件1套;

    说明书1份;

    合格证1份;

    保修卡1份;

    签收单1份;

    铭牌1块;

    电源线1根;

    扳手1套;

    宣传册若干;

    8mm气管2米

     

     


    上海程斯智能科技有限公司

    联系人:高先生

    手机:13386202197

    手机:19821311892

    地址:上海市松江区洞业路999号

    友情链接: 上海程斯智能科技有限公司 程斯智能

    备案号:沪ICP备19009154号-12

    企业分站: 上海 黄浦 徐汇 长宁 静安 普陀 虹口 杨浦 浦东新区 闵行 宝山 嘉定 金山 松江 青浦 奉贤 崇明

    万能耐磨试验机

    微信二维码